Filter Options
Internal Circlips with Increased Abutment

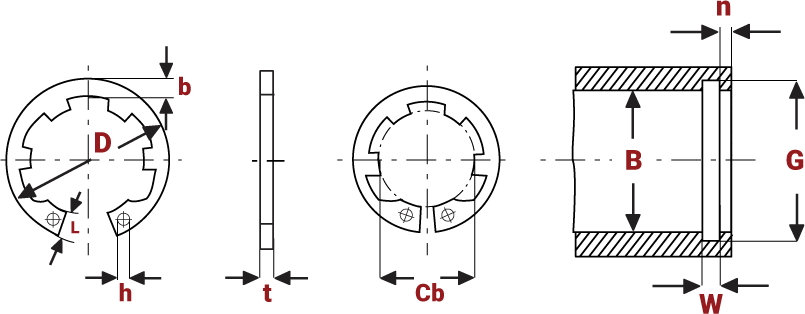
Radially fitted circlips for bores with grooves. Similar in design to DIN 472 Circlips, but with additional lugs evenly distributed around the circumference for more effective securing of machine parts with chamfers and large radii. High axial loading capacity.
Display Price:
Per 100 unitsPer single unit
Per 100 unitsPer single unit
| Name | Shaft (S) | Thick (t) | Thickness Tolerance | Free Diameter (D) | Free Diameter Tolerance | Clearance on Bore (Cb) | Beam (b) | Lug (L) | Hole Diamter (h) | Ring Load Carrying Capacity (lb.f) | Groove Diameter (G) | Groove Tolerance | Groove Width (W) | Edge Margin (n) | Groove Load Carrying Capacity (kN) | Buy |
|---|
